小米新商标花费200万:雷军一边被吐槽被骗,一边新注册90个商标
小米最近天天上热搜,新闻不断。大家注意到了没有,小米的商标换了,小米新LOGO不仔细看,都看不出变化,仅仅是由方变圆,不过就这点小小的变化,设计历时3年,花费200万。难怪网友吐槽:“雷军被骗了”。这个商标值不值小编不清楚,但是这一波话题量和热搜肯定值。

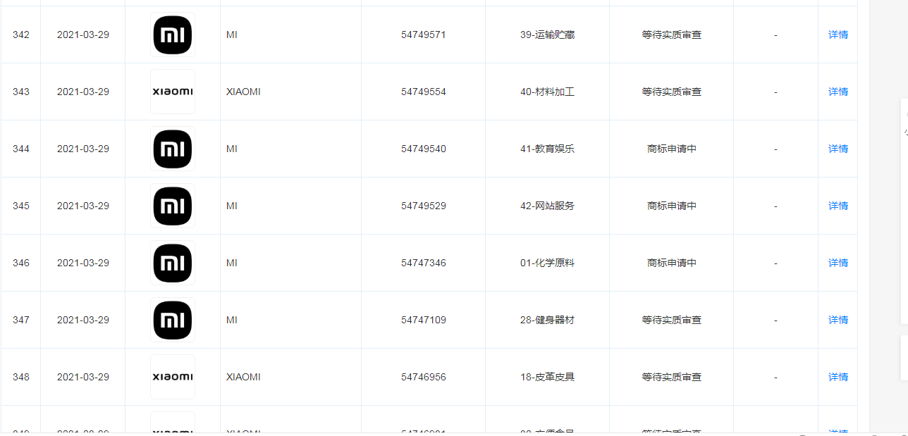
随着小米新设计的公开,小米也在近日申请注册了90个新商标,其中包括“xiaomi”字样以及小米新logo图案商标。企业一定要注意,一旦更换logo,要及时注册商标,如果注册不及时,被他人抢注,则有可能失去商标权,被他人占用。
虽然雷军对商标十分重视,但是百密一疏,“小米汽车”的商标还是被他人抢注了,在小米造车传得沸沸扬扬时,绍兴冀祥纺织品有限公司默默申请注册了“小米汽车”商标,而且是万能类别35类,以及核心类别12类运输工具,该公司注册日期是3月12日,小米全面注册“小米汽车”商标是在4月1日,比人家晚了整整半个多月。可见,商标抢注不得不防。
对于企业而言,如果自身没有知识产权部门,则有必要找一家专业的知识产权代理机构合作,对自身商标进行监控,除了监控商标到期续展之外,还需要监控他人注册近似商标,及时对其提出异议撤销,避免商标被“蹭”,品牌信誉受损。有疑问可以关注“汇泽知识产权代理”,也可留言或者私信小编,小编会进行专业解答。




